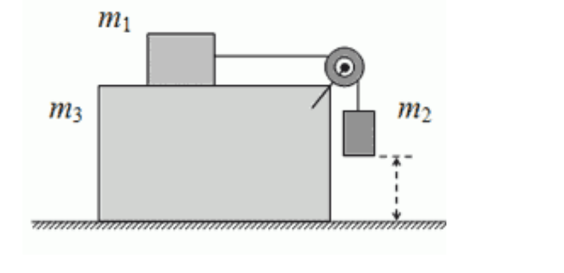
Los cuerpos de masa m1, m2 y m3 se encuentran sobre la superficie horizontal lisa de una mesa de modo que un cuerpo de masa m1 está sobre el cuerpo de masa m3 y está conectado con el cuerpo de masa m2 por un hilo colocado a una polea fija sobre el cuerpo de masa m3 . El cuerpo de masa m2 se mantiene a una altura h por encima de la superficie de la mesa. Si se suelta, el sistema como un todo comienza a moverse. El coeficiente de fricción entre los cuerpos es µ. La fricción con la polea y su masa son despreciables y también es despreciable la fricción entre la mesa y el cuerpo que reposa sobre ella. También es despreciable la fricción entre la mesa y la masa m3. Determinar:
a) La aceleración del sistema
b) La tensión de la cuerda
c) La distancia que recorrerá el cuerpo de masa m3 cuando el cuerpo de masa m2 toque la superficie de la mesa

Yo lo que he hecho es estudio por dinámica cuerpo a cuerpo
Cuerpo 1
T - Fr = m1 a
Cuerpo 2
P2 - T = m2 a
Cuerpo 3
Fr = m3 a
¿Lo tengo bien planteado?
a) La aceleración del sistema
b) La tensión de la cuerda
c) La distancia que recorrerá el cuerpo de masa m3 cuando el cuerpo de masa m2 toque la superficie de la mesa
Yo lo que he hecho es estudio por dinámica cuerpo a cuerpo
Cuerpo 1
T - Fr = m1 a
Cuerpo 2
P2 - T = m2 a
Cuerpo 3
Fr = m3 a
¿Lo tengo bien planteado?














Comentario